電話:0577-66996885
傳真:0577-66995778
手機:13353386068
Q Q:2219968630
網址:www.cnjlzl.cn
地址:浙江省永嘉縣甌北鎮三橋工業區
【GF型食品衛生級螺桿泵】性能特點:
·*高吸上高度可6米水柱
·可雙向旋轉,雙向輸送(需配備反轉定子)
·安裝方式靈活.
·運行順暢、平穩、噪音低、無脈動、無剪切
·輸送介質溫度范圍-20℃~+150℃
·單螺桿泵零件少,結構緊湊,體積小,維修簡便,轉子和定子是本泵的易損件,結構簡單,便于裝拆。傳動可采用聯軸器直接傳動,或采用調速電機,三角帶,變速箱等裝置變速。海坦泵業是制造、設計、生產單螺桿泵的專業廠家。不同的螺桿泵其具體使用場合亦有所不同。
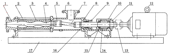
【GF型食品衛生級螺桿泵】結構圖:
|
1 |
出料口 |
4 |
螺桿軸 |
7 |
連節軸 |
10 |
軸承座 |
13 |
連軸器 |
16 |
傳動軸 |
|
2 |
拉桿 |
5 |
萬向節總成 |
8 |
填料座 |
11 |
軸承蓋 |
14 |
軸套 |
17 |
底座 |
|
3 |
定子 |
6 |
吸入口 |
9 |
填料壓蓋 |
12 |
電動機 |
15 |
軸承 |
|
|
【GF型食品衛生級螺桿泵】安裝尺寸:
|
型號 |
L1 |
L2 |
L3 |
L4 |
L5 |
H |
H1 |
B |
B1 |
|
|
G20-1 |
93 |
|
545 |
220 |
800 |
130 |
195 |
125 |
160 |
φ14×4 |
|
G25-1 |
135 |
|
800 |
325 |
1140 |
145 |
250 |
160 |
180 |
φ14×4 |
|
G25-2 |
110 |
|
935 |
460 |
1280 |
160 |
260 |
160 |
200 |
φ14×4 |
|
G30-1 |
105 |
|
935 |
340 |
1170 |
160 |
265 |
160 |
200 |
φ14×4 |
|
G30-2 |
135 |
650 |
460 |
550 |
1505 |
195 |
315 |
200 |
245 |
φ16×6 |
|
G35-1 |
130 |
475 |
530 |
430 |
1385 |
200 |
315 |
205 |
245 |
φ16×6 |
|
G35-2 |
140 |
485 |
715 |
620 |
1610 |
215 |
340 |
200 |
245 |
φ16×6 |
|
G40-1 |
150 |
465 |
622 |
455 |
1515 |
200 |
315 |
205 |
250 |
φ16×6 |
|
G40-2 |
165 |
665 |
625 |
670 |
1720 |
215 |
325 |
210 |
240 |
φ16×6 |
|
G50-1 |
150 |
575 |
545 |
490 |
1560 |
|
320 |
205 |
245 |
φ16×6 |
|
G50-2 |
150 |
700 |
700 |
735 |
1975 |
|
380 |
230 |
295 |
φ18×6 |
|
G60-1 |
150 |
675 |
700 |
570 |
1840 |
|
385 |
235 |
285 |
φ18×6 |
|
G60-2 |
150 |
800 |
845 |
850 |
2145 |
|
390 |
240 |
315 |
φ18×6 |
|
G70-1 |
183 |
720 |
750 |
685 |
1995 |
|
435 |
240 |
315 |
φ18×6 |
|
G70-2 |
190 |
900 |
935 |
1055 |
2380 |
|
465 |
250 |
350 |
φ20×6 |
|
G85-1 |
200 |
800 |
850 |
735 |
2045 |
|
480 |
260 |
350 |
φ20×6 |
|
G105-1 |
210 |
870 |
930 |
885 |
2200 |
|
500 |
300 |
400 |
φ20×6 |
|
G135-1 |
250 |
930 |
970 |
985 |
2300 |
|
510 |
320 |
450 |
φ22×6 |
【GF型食品衛生級螺桿泵】使用注意事項:
1、開機前必先確定運轉方向,不得反轉。
2、嚴禁在無介質情況下空運轉,以免損壞定子。
3、新安裝或停機數天后的泵,不能立即起動,應先向泵體內注入適量機油,再用管子鉗板動幾轉后才可起動。
4、輸送高粘度或含顆粒及腐蝕性的介質后,應用水或深劑進行沖洗,防止阻塞,以免下次起動困難。
5、冬季應排除積液,防止凍裂。
6、使用過程中軸承箱內應定期加潤滑油,發現軸端有滲流時,要及時處理或調換油封。
7、在運行中如發生異常情況,應立即停車檢查原因,排除故障。
【GF型食品衛生級螺桿泵】使用注意事項:
|
故障 |
原因 |
排除方法 |
|
1、泵不能起動 |
a、新泵轉、定子配合過緊 |
a、用工具人力幫助轉動幾圈 |
|
2、泵不出液 |
a、旋轉方向不對 |
a、調整方向 |
|
3、流量達不到 |
a、管路泄漏 |
a、檢查修理管路 |
|
4、壓力達不到 |
a、轉子、定子磨損 |
a、更換轉、定子 |
|
5、電機過熱 |
a、電機故障 |
a、檢查電機、電壓、電流、電頻 |
|
6、流量壓力急劇下降 |
a、管道突然堵塞或泄漏 |
參照以下幾項,逐項排除 |
|
7、軸密封處大量泄漏液體 |
a、軟填料磨損 |
a、壓緊或更換填料 |
聲明:由于產品一直在更新,本文中所有文字、數據、圖片均只適用于參考,G型單螺桿泵性能參數、G型單螺桿泵使用場合、G型單螺桿泵材質要求、G型單螺桿泵結構、G型單螺桿泵安裝尺寸以及G型單螺桿泵的價格等詳情,我們一定會盡心盡力為您提供優質的服務。
相關螺桿泵系列產品:
LQ3G型三螺桿泵(保溫瀝青泵),I-1B系列濃漿泵,G型單螺桿泵。
【GF型食品衛生級螺桿泵】輸送方式:
【GF型食品衛生級螺桿泵】主要用途:
1、環境保護:工業污水、生活污水、含有固體顆粒及短纖維的污泥濁水的輸送。特別適用于油水分離器,板框壓濾機等設備。
2、船舶工業:輪底清洗、油水、油渣、油污水等介質的輸送。
3、石油工業:輸送原油。近年來,尤其成功地抽吸地下千米之深的原油與水的混合物,煤田里的煤田氣和水的混合物,從而大大降低了機械采油、采煤田氣的成本。當油田到了后期,使用螺桿泵往地層內灌注聚合物增加油田采收率。
4、醫藥、日化:各種粘調漿、乳化液、各種軟膏化裝品等的輸送。
5、食品罐頭業:各種粘稠淀粉、食油、蜂密、糖醬、果漿、奶油、魚糜肉糜以及其下腳料的輸送。
6、釀造業:各種發酵粘稠液、濃酒槽、糧食制品渣各種醬類、漿和含有塊關固態物的粘液等。
7、建筑工業:水泥沙漿、石灰漿、涂料及其經糊狀體的噴涂與輸送。
8、采礦工業:礦井內的含固體顆粒的地下和污漿水等排送到地面。
9、化學工業:各種懸浮液、油脂、各種膠體漿、各種粘合劑。
10、印刷、造紙工業:高粘度油墨、墻紙的PVC高分子塑料糊和各種濃度的紙漿,短纖維漿料的輸送。
【GF型食品衛生級螺桿泵】性能參數:
|
號 |
轉速 |
流量 |
壓力 |
電機 |
揚程 |
進口 |
出口 |
允許顆粒直徑 |
允許維修長度 |
|
G20-1 |
960 |
0.8 |
0.6 |
0.75 |
60 |
25 |
25 |
1.5 |
25 |
|
G25-1 |
960 |
2 |
0.6 |
1.5 |
60 |
32 |
25 |
2 |
30 |
|
G25-2 |
960 |
2 |
1.2 |
2.2 |
120 |
32 |
25 |
2 |
30 |
|
G30-1 |
960 |
5 |
0.6 |
2.2 |
60 |
50 |
40 |
2.5 |
35 |
|
G30-2 |
960 |
5 |
1.2 |
3.0 |
120 |
50 |
40 |
2.5 |
35 |
|
G35-1 |
960 |
8 |
0.6 |
3.0 |
60 |
65 |
50 |
3 |
40 |
|
G35-2 |
960 |
8 |
1.2 |
4.0 |
120 |
65 |
50 |
3 |
40 |
|
G40-1 |
960 |
12 |
0.6 |
4.0 |
60 |
80 |
65 |
3.8 |
45 |
|
G40-2 |
960 |
12 |
1.2 |
5.5 |
120 |
80 |
65 |
3.8 |
45 |
|
G50-1 |
960 |
20 |
0.6 |
5.5 |
60 |
100 |
80 |
5 |
50 |
|
G50-2 |
960 |
20 |
1.2 |
7.5 |
120 |
100 |
80 |
5 |
50 |
|
G60-1 |
960 |
30 |
0.6 |
11 |
60 |
125 |
100 |
6 |
60 |
|
G60-2 |
960 |
30 |
1.2 |
15 |
120 |
125 |
100 |
6 |
60 |
|
G70-1 |
960 |
45 |
0.6 |
15 |
60 |
150 |
125 |
8 |
70 |
|
G70-2 |
720 |
45 |
1.2 |
18.5 |
120 |
150 |
125 |
8 |
70 |
|
G85-1 |
720 |
65 |
0.6 |
15 |
60 |
150 |
150 |
10 |
80 |
|
G105-1 |
500 |
100 |
0.6 |
22 |
60 |
200 |
200 |
15 |
110 |
|
G135-1 |
400 |
150 |
0.6 |
37 |
60 |
250 |
250 |
20 |
150 |
【GF型食品衛生級螺桿泵】產品簡介:
海坦泵業生產的G型單螺桿泵在發達已廣泛使用,國外多數稱單螺桿泵為“莫諾泵”《MONOPUMPS》,德國稱為“偏心轉子泵”。由于其優良的性能,近年來在國內的應用范圍也在迅速擴大。它的*大特點是對介質的適應性強、流量平穩、壓力脈動動小、自吸能力高,這是其它任何泵種所不能替代的。我們對國外(如:德、英、法、日本等國)生產的單螺桿泵及國內同行業的產品,作了分析與研究,博取眾長,對自己的產品進行不斷的改革創新。目前我單位的產品已自成一個體系,壓力為0.6~1.2MPa,特殊要求壓力可達3MPa,可滿足廣大用戶對單螺桿泵的不同需求。我單位生產的泵,質量可靠,實行三包,價格也相對較低,同時確保備品備件的正常供應。本單位熱忱為廣大用戶服務,接受用戶對特殊要求單螺桿泵的設計和制造任務
【GF型食品衛生級螺桿泵】型號意義:
【GF型食品衛生級螺桿泵】工作原理與特性:
G型單螺桿泵是按迥轉嚙合容積式原理工作的新型泵種。主要工作部件是偏心螺桿(轉子)和固定的襯套(定子)。由于該部件的特殊幾何開頭分別形成單獨的密封容腔。介質由軸向均勻推行流動。內部流速代低,容積保持 不變。壓力穩定,因而不會產品渦流和攪動。 單螺桿泵被廣泛用于各行業輸送各類介質,恒壓連續運行,無脈動,介質輸送無破損,通過調節轉速改變流量從而達到計量的目的。本產品適合輸送具有以下特性的介質:固體含量高(*大粒徑可達150mm)或無固體含量|各種粘度(1mPas-3百萬mPas)的介質|觸變性和易膨脹性介質|剪切敏感性介質|磨蝕性介質|有/無自潤滑性的介質|腐蝕性介質(pH=O-14)|粘結性介質|有毒性介質|流量大、壓力高·流量范圍從每小時幾毫升到500m3(2200gpm)·壓力范圍*高可達48bar,特殊設計可達72bar。同一種傳動部件可與四種不同設計的轉子/定子匹配,為您提供*佳使用方案。
針對不同的應用領域,選用不同的金屬材料,從鑄鐵、鎳鉻鋼到耐酸材料、哈氏合金及鈦合金。彈性材料可選用耐磨的、耐油的、耐酸的、耐堿的橡膠,如天然橡膠、丁晴橡膠、乙丙橡膠及氟橡膠等。對磨蝕性強的介質,可選用陶瓷或塑料。當介質因高溫或含有某些化學成分而不能選用彈性材料時,可選用硬材質定子或剛性定子。各種軸封形式:按客戶的要求,機械密封從單端面機封(帶或不帶急冶)、雙端面機封(背靠背式及串聯式機械密封)到盒式密封;也可選用填料密封、水封環及特殊密封。對有毒介質可提供無泄漏磁力傳動。
【GF型食品衛生級螺桿泵】產品:

